Kia Sportage: Engine Control / Fuel System / Troubleshooting
Basic Troubleshooting Guide

Customer Problem Analysis Sheet

Basic Inspection Procedure
Measuring Condition of Electronic Parts' Resistance
The measured resistance at high temperature after vehicle running may be high
or low. So all resistance must be measured at ambient temperature (20°C, 68°F),
unless stated otherwise.
|
The measured resistance in except for ambient temperature (20°C, 68°F)
is reference value.
|
Intermittent Problem Inspection Procedure
Sometimes the most difficult case in troubleshooting is when a problem symptom
occurs but does not occur again during testing. An example would be if a problem
appears only when the vehicle is cold but has not appeared when warm. In this
case, the technician should thoroughly make out a "Customer Problem Analysis
Sheet" and recreate (simulate) the environment and condition which occurred
when the vehicle was having the issue.
| 1. |
Clear Diagnostic Trouble Code (DTC).
|
| 2. |
Inspect connector connection, and check terminal for poor connections,
loose wires, bent, broken or corroded pins, and then verify that the
connectors are always securely fastened.

|
| 3. |
Slightly shake the connector and wiring harness vertically and horizontally.
|
| 4. |
Repair or replace the component that has a problem.
|
| 5. |
Verify that the problem has disappeared with the road test.
|
● Simulating Vibration
| a. |
Sensors and Actuators
: Slightly vibrate sensors, actuators or relays with finger.
|
Strong vibration may break sensors, actuators or relays
|
|
| b. |
Connectors and Harness
: Lightly shake the connector and wiring harness vertically and then
horizontally.
|
● Simulating Heat
| a. |
Heat components suspected of causing the malfunction with a hair dryer
or other heat source.
| •
|
DO NOT heat components to the point where they may be
damaged.
|
| •
|
DO NOT heat the ECM directly.
|
|
|
● Simulating Water Sprinkling
| a. |
Sprinkle water onto vehicle to simulate a rainy day or a high humidity
condition.
|
DO NOT sprinkle water directly into the engine compartment or
electronic components.
|
|
● Simulating Electrical Load
| a. |
Turn on all electrical systems to simulate excessive electrical loads
(Radios, fans, lights, rear window defogger, etc.).
|
Connector Inspection Procedure
| 1. |
Handling of Connector
| a. |
Never pull on the wiring harness when disconnecting connectors.

|
| b. |
When removing the connector with a lock, press or pull locking
lever.

|
| c. |
Listen for a click when locking connectors. This sound indicates
that they are securely locked.

|
| d. |
When a tester is used to check for continuity, or to measure
voltage, always insert tester probe from wire harness side.

|
| e. |
Check waterproof connector terminals from the connector side.
Waterproof connectors cannot be accessed from harness side.

|
• |
Use a fine wire to prevent damage to the terminal.
|
|
• |
Do not damage the terminal when inserting the
tester lead.
|
|
|
|
| 2. |
Checking Point for Connector
| a. |
While the connector is connected:
Hold the connector, check connecting condition and locking efficiency.
|
| b. |
When the connector is disconnected:
Check missed terminal, crimped terminal or broken core wire
by slightly pulling the wire harness.
Visually check for rust, contamination, deformation and bend.
|
| c. |
Check terminal tightening condition:
Insert a spare male terminal into a female terminal, and then
check terminal tightening conditions.
|
| d. |
Pull lightly on individual wires to ensure that each wire is
secured in the terminal.

|
|
| 3. |
Repair Method of Connector Terminal
| a. |
Clean the contact points using air gun and/or shop rag.
|
Never use sand paper when polishing the contact points,
otherwise the contact point may be damaged.
|
|
| b. |
In case of abnormal contact pressure, replace the female terminal.
|
|
Wire Harness Inspection Procedure
| 1. |
Before removing the wire harness, check the wire harness position and
crimping in order to restore it correctly.
|
| 2. |
Check whether the wire harness is twisted, pulled or loosened.
|
| 3. |
Check whether the temperature of the wire harness is abnormally high.
|
| 4. |
Check whether the wire harness is rotating, moving or vibrating against
the sharp edge of a part.
|
| 5. |
Check the connection between the wire harness and any installed part.
|
| 6. |
If the covering of wire harness is damaged; secure, repair or replace
the harness.
|
Electrical Circuit Inspection Procedure
● Check Open Circuit
| 1. |
Procedures for Open Circuit
If an open circuit occurs (as seen in [FIG. 1]), it can be found by
performing Step 2 (Continuity Check Method) or Step 3 (Voltage Check
Method) as shown below.

|
| 2. |
Continuity Check Method
|
When measuring for resistance, lightly shake the wire harness
above and below or from side to side.
|
|
Specification (Resistance)
1Ω or less → Normal Circuit
1MΩ or Higher → Open Circuit
|
| a. |
Disconnect connectors (A), (C) and measure resistance between
connector (A) and (C) as shown in [FIG. 2].
In [FIG.2.] the measured resistance of line 1 and 2 is higher
than 1MΩ and below 1 Ω respectively. Specifically the open circuit
is line 1 (Line 2 is normal). To find exact break point, check
sub line of line 1 as described in next step.

|
| b. |
Disconnect connector (B), and measure for resistance between
connector (C) and (B1) and between (B2) and (A) as shown in
[FIG. 3].
In this case the measured resistance between connector (C) and
(B1) is higher than 1MΩ and the open circuit is between terminal
1 of connector (C) and terminal 1 of connector (B1).

|
|
| 3. |
Voltage Check Method
| a. |
With each connector still connected, measure the voltage between
the chassis ground and terminal 1 of each connectors (A), (B)
and (C) as shown in [FIG. 4].
The measured voltage of each connector is 5V, 5V and 0V respectively.
So the open circuit is between connector (C) and (B).

|
|
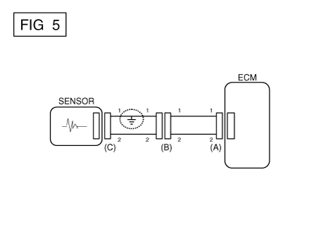
● Check Short Circuit
| 1. |
Test Method for Short to Ground Circuit
| • |
Continuity Check with Chassis Ground
|
If short to ground circuit occurs as shown in [FIG. 5], the broken point
can be found by performing Step 2 (Continuity Check Method with Chassis
Ground) as shown below.

|
| 2. |
Continuity Check Method (with Chassis Ground)
|
Lightly shake the wire harness above and below, or from side
to side when measuring the resistance.
|
|
Specification (Resistance)
1Ω or less → Short to Ground Circuit
1MΩ or Higher → Normal Circuit
|
| a. |
Disconnect connectors (A), (C) and measure for resistance between
connector (A) and Chassis Ground as shown in [FIG. 6].
The measured resistance of line 1 and 2 in this example is below
1 Ω and higher than 1MΩ respectively. Specifically the short
to ground circuit is line 1 (Line 2 is normal). To find exact
broken point, check the sub line of line 1 as described in the
following step.

|
| b. |
Disconnect connector (B), and measure the resistance between
connector (A) and chassis ground, and between (B1) and chassis
ground as shown in [FIG. 7].
The measured resistance between connector (B1) and chassis ground
is 1Ω or less. The short to ground circuit is between terminal
1 of connector (C) and terminal 1 of connector (B1).

|
|
● Testing For Voltage Drop
This test checks for voltage drop along a wire, or through a connection orswitch.
| A. |
Connect the positive lead of a voltmeter to the end of the wire (or
to the side of the connector or switch) closest to the battery.
|
| B. |
Connect the negative lead to the other end of the wire. (or the other
side of the connector or switch)
|
| D. |
The voltmeter will show the difference in voltage between the two points.
A difference, or drop of more than 0.1 volts (50mV in 5V circuits),
may indicate a problem. Check the circuit for loose or dirty connections.
|

Symptom Troubleshooting Guide Chart
Main symptom
|
Diagnostic procedure
|
Also check for
|
Unable to start
(Engine does not turn over)
|
| 1) |
Test the battery. (Refer to Engine Electrical System - "Battery")
|
| 2) |
Test the starter. (Refer to Engine Electrical System - "Starter")
|
| 3) |
Inhibitor switch (A/T) or clutch start switch (M/T)
|
|
|
Unable to start
(Incomplete combustion)
|
| 1) |
Test the battery. (Refer to Engine Electrical System - "Battery")
|
| 2) |
Check the fuel pressure (Refer to Fuel Delivery System - "Fuel
Pressure Test")
|
| 3) |
Check the ignition circuit. (Refer to Engine Electrical System
- "Ignition System")
|
| 4) |
Troubleshooting the immobilizer system. (Refer to Body Electrical
System - "Immobilizer System")
(In case of immobilizer lamp flashing)
|
|
| • |
Slipped or broken timing belt
|
|
Difficult to start
|
| 1) |
Test the battery. (Refer to Engine Electrical System - "Battery")
|
| 2) |
Check the fuel pressure (Refer to Fuel Delivery System - "Fuel
Pressure Test")
|
| 3) |
Check the ECT sensor and circuit (Check DTC)
|
| 4) |
Check the ignition circuit. (Refer to Engine Electrical System
- "Ignition System")
|
|
|
Poor idling
(Rough, unstable or incorrect Idle)
|
| 1) |
Check the fuel pressure. (Refer to Fuel Delivery System - "Fuel
Pressure Test")
|
| 2) |
Check the Injector. (Refer to Engine Control System - "Injector")
|
| 3) |
Check the long term fuel trim and short term fuel trim
(Refer to CUSTOMER DATASTREAM)
|
| 4) |
Check the idle speed control circuit (Check DTC)
|
| 5) |
Inspect and test the Throttle Body
|
| 6) |
Check the ECT sensor and circuit (Check DTC)
|
|
|
Engine stall
|
| 1) |
Test the battery. (Refer to Engine Electrical System - "Battery")
|
| 2) |
Check the fuel pressure. (Refer to Fuel Delivery System - "Fuel
Pressure Test")
|
| 3) |
Check the idle speed control circuit (Check DTC)
|
| 4) |
Check the ignition circuit. (Refer to Engine Electrical System
- "Ignition System")
|
| 5) |
Check the CKPS Circuit (Check DTC)
|
|
|
Poor driving
(Surge)
|
| 1) |
Check the fuel pressure. (Refer to Fuel Delivery System - "Fuel
Pressure Test")
|
| 2) |
Inspect and test Throttle Body
|
| 3) |
Check the ignition circuit. (Refer to Engine Electrical System
- "Ignition System")
|
| 4) |
Check the ECT Sensor and Circuit (Check DTC)
|
| 5) |
Test the exhaust system for a possible restriction. (Refer to
Engine Mechanical System - "Exhaust Manifold")
|
| 6) |
Check the long term fuel trim and short term fuel trim (Refer
to CUSTOMER DATASTREAM)
|
|
|
Knocking
|
| 1) |
Check the fuel pressure. (Refer to Fuel Delivery System - "Fuel
Pressure Test")
|
| 2) |
Inspect the engine coolant. (Refer to Engine Mechanical System
- "Radiator")
|
| 3) |
Inspect the radiator and the electric cooling fan. (Refer to
Engine Mechanical System - "Radiator")
|
| 4) |
Check the spark plugs. (Refer to Engine Electrical System -
"Ignition System")
|
|
|
Poor fuel economy
|
| 1) |
Check customer's driving habitsIs
· A/C on full time or the defroster mode on?
· Are tires at correct pressure?
· Is excessively heavy load being carried?
· Is acceleration too much, too often?
|
| 2) |
Check the fuel pressure. (Refer to Fuel Delivery System - "Fuel
Pressure Test")
|
| 3) |
Check the injector. (Refer to Engine Control System - "Injector")
|
| 4) |
Test the exhaust system for a possible restriction
|
| 5) |
Check the ECT sensor and circuit
|
|
|
Hard to refuel
(Overflow during refueling)
|
| 1) |
Inspect the fuel filler hose/pipe
· Pinched, kinked or blocked?
· Filler hose is torn
|
| 2) |
Inspect the fuel tank vapor vent hose between the EVAP. canister
and air filter
|
| 3) |
Check the EVAP. canister
|
|
| • |
Malfunctioning gas station filling nozzle (If this problem occurs
at a specific gas station during refueling)
|
|
Special Service Tools
Tool Name / Number
Illustration
Description
Fuel Pressure Gauge
09353-24100
...
Other information:
To drive your vehicle in deep snow, it may be necessary to use snow tires or
to install tire chains on your tires. If snow tires are needed, it is necessary
to select tires equivalent in size and type of the original equipment tires. Failure
to do so may adversely affect the safety and handlin ...
Operates as follows when the ignition switch is turned ON.
MIST : For a single wiping cycle, move the lever to this (MIST) position and
release it. The wipers will operate continuously if the lever is held in this position.
OFF : Wiper is not in operation
INT : Wiper operates intermittently at ...